Appearance
循环继续
🚩【组件功能】:对循环组件执行循环体逻辑时,通过循环继续组件终止循环体内当前后续循环逻辑,然后继续执行下一次循环。
在For循环、ForEach循环、While循环、DoWhile循环的循环体内,满足条件判断时,用循环继续跳出本次循环体当前后续逻辑,然后继续执行下一次循环。
配置预览

配置说明
继续条件
始终执行:无其余判断条件,执行到此组件步骤则跳出本次循环。
上一组件输出:以上一组件输出值为布尔值时,可作为判断条件,当上一组件输出值为true则跳出本次循环,继续执行循环体。为false则不进行任何操作,继续执行循环体逻辑。
表达式:填写条件判断表达式,表达式结果为True则跳出本次循环。
满足继续条件则跳出本次循环,跳出后不再执行循环体后续逻辑,继续下一次循环。表达式结果为False继续执行循环体逻辑。
支持平台
~win-yes ~mac-yes ~linux-yes
示例
表达式判断
描述
根据奇数偶数的定义,若整数除以2没有余数,则为偶数,否则为奇数。 因此,偶数取余结果为0代表是偶数,奇数取余结果为非零代表是奇数。循环继续条件使用变量i调用 javascript 中取余函数来进行奇偶数判断
配置

输出结果
For循环中当循环变量i为偶数时,取余为0,则循环继续判断为true,跳出本次循环不再执行后续逻辑,i为奇数时,取余为1,则循环继续判断为false,则继续循环体,打印出当前i值 
上一组件输出
描述
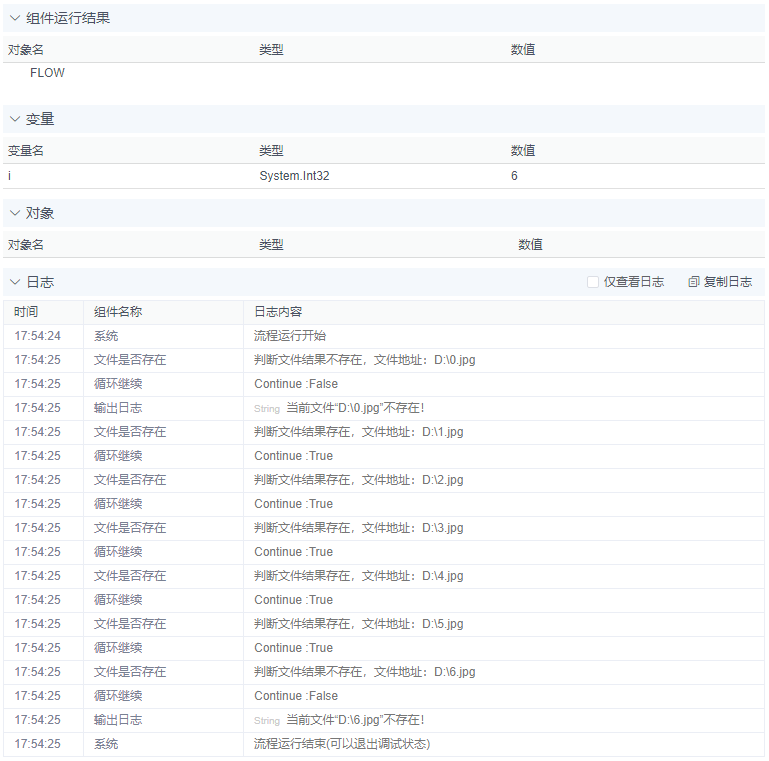
已知D盘下有一些用数字命名的PNG图片,使用文件是否存在组件,判断哪些图片存在,并打印提示哪些图片不存在。
配置
文件是否存在输出值为布尔型,因此循环继续可直接使用上一组件输出值作为判断条件 
输出结果
文件是否存在判断为true,则循环继续满足条件,跳出本次循环,反之,则继续执行后续逻辑打印出提示日志 